Chapter 62
Optics of Gonioscopy
JACOB T. WILENSKY
Main Menu   Table Of Contents

Search

TYPES OF GONIOSCOPY LENSES
CYCLOSCOPY
LENSES FOR LASER IRIDOTOMY
REFERENCES

Examination of the anterior chamber angle, gonioscopy (from the Greek gonio meaning “angle”), is an essential pan of an ophthalmic examination. It is particularly valuable in differentiating between open-angle and angle-closure forms of glaucoma and is essential to detect traumatic angle recession or angle neovascularization. It may reveal the presence of foreign bodies, abnormal pigmentation, or even tumors within the angle. It is also important for therapy. Goniotomy, which has long been a standard treatment for congenital glaucoma, requires direct visualization of the chamber angle. A number of relatively new laser techniques for the treatment of glaucoma (most notably trabeculoplasty) are now in wide use, and each requires visualization of the chamber angle. Thus it is obvious that a solid understanding of and facility with gonioscopy is mandatory for the ophthalmologist.

When light passes at an angle from one medium to another, it bends according to the laws of refraction. Light bends toward the normal (a line perpendicular to the interface between the two media) if it enters a medium of higher index of refraction, or away from the normal if it enters a medium of lower index of refraction.

Consider a beam of light passing from one medium into another of lower index of refraction. As the angle of incidence progressively increases, the emerging light will be closer and closer to parallel to the interface between the media. At a certain angle of incidence, the light will be bent in the second medium such that it is parallel to the interface; that is, it will not enter the second medium. This angle of incidence is known as the critical angle. When the angle of incidence is greater than the critical angle, the light will not emerge but instead will be reflected back into the first medium (Fig. 1).

Fig 1. (a) As the light ray enters a medium of lesser density, it is bent away from the normal. (b) When the critical angle is reached, the light ray is bent so that it is parallel to the interface between the two media. (c) When the critical angle is exceeded, the light ray is reflected internally.

Light rays originating from the depths of the anterior chamber angle of a normal eye strike the corneal surface at an angle of incidence greater than the critical angle. Thus, these light rays are reflected completely internally (Fig. 2). Since light rays from the angle cannot leave the eye, the angle structures ordinarily are not viewable. In order to see the angle structures, the air-cornea interface must be modified or eliminated. This may be accomplished by using various types of gonioscopy lenses.

Fig 2. Light rays originating in the recess of the chamber angle exceed the critical angle of the cornea-air interface and are reflected internally in the normal eye.

The first person to practice gonioscopy is reported to have been Trantas, a Greek ophthalmologist,1 at about the beginning of the 20th century. In an eye with keratoglobus, he was able to see the angle using a direct ophthalmoscope. He also practiced indentation of the limbus to alter the anatomy of this region and was able to examine the angles of the eyes of a number of glaucoma patients by this technique. Saltzman, an Austrian ophthalmologist, appears to have developed a somewhat similar technique around the same time. Recognizing that it was in highly myopic eyes or in other eyes with a steeper cornea that he was able to visualize the chamber angle, he placed a corneal contact lens on normal eyes in an attempt to visualize their angles. The initial contact lens that he used caused considerable distortion, and he subsequently had a somewhat steeper lens made specially for him by Zeiss. This lens was further refined by Koeppe, who had a steeper, thicker lens manufactured to improve the visual quality of the image seen.

Back to Top
TYPES OF GONIOSCOPY LENSES
The use of goniolenses of this type (Koeppe) constitutes the direct method of gonioscopy. Since these goniolenses have a steeper curvature than the cornea, there is a space between the inner surface of the lens and the cornea, This space is filled with methylcellulose, saline, or some other solution. For all practical purposes this solution creates an optical continuity between the lens and the cornea (Fig. 3). The more steeply curved outer surface of the gonioscopy lens replaces the cornea-air interface, thus altering the critical angle and permitting visualization of the angle. The chamber angle is observed by viewing directly across the anterior chamber. A true image is seen with true spacial orientation. Magnifying loops, a hand-held microscope, or an operating microscope is used to magnify the image viewed (Fig. 4); the gonioscopy lens itself provides about 1.5 x magnification.

Fig 3. Schematic drawing of a direct gonioscopy lens. The steeper radius of curvature of the gonioscopy lens is substituted for that of the cornea, permitting direct visualization of the angle recess. Note the fluid bridge between the cornea and the gonioscopy lens, which links them functionally into a single optical system.

Fig 4. Performance of direct gonioscopy. The hand-held microscope is partially supported by a counterweight, and illumination is supplied by a separate illuminator.

MIRRORED

Mirrored gonioscopy lenses were introduced by Goldmann in 1938. The optical power of the front surface of the cornea is essentially eliminated by the lens, and an angulated mirror is placed within the lens. The mirror reflects the light rays originating from the chamber angle recess to the line of vision of the viewer (Fig. 5). Because of this reflection system, the image seen is inverted and is projected 180° away from where it originates. Since the image is inverted, this type of gonioscopy is referred to as indirect gonioscopy. (There is at least one mirrored gonioscopy lens that has a double-mirror system, resulting in an erect rather than an inverted image.) The mirrored gonioscopy lenses are generally used in conjunction with a slit lamp; the slit-lamp microscope provides the magnification, and the slit beam provides the illumination (Fig. 6).

Fig 5. Schematic drawing of an indirect gonioscopy lens. The light ray originating from the angle recess is reflected by the mirror inside the lens.

Fig 6. Performance of indirect gonioscopy. The slit lamp provides both magnification and illumination.

At the present time there are a number of mirrored gonioscopy lenses that are available commercially. Some of the differences that distinguish these lenses from one another are the number of mirrors, the angulation of the mirrors, the location of the mirror relative to the apex of the cornea, the diameter of the base of the lens, and the radius of curvature of the lens. Some of the practical implications of these differences will be discussed below.

Most gonioscopy lenses have their mirrors set at an angle of 59° to 64° from the horizontal plane, with 62° being the most common. Those lenses that also have mirrors intended to be used for examining the ora serrata and peripheral retina have mirrors with steeper angles. They may be as steep as 80°. In the one- or two-mirror Goldmann-type lenses, the mirror is positioned approximately 3 mm from the apex of the cornea when the lens is perfectly centered. In contrast, in a three-mirror Goldmann-type lens, the mirror is 7 mm from the center of the cornea. This means that the viewing angle across the anterior chamber is considerably flatter. In an eye with iris bombé, it may not be possible to see over the convexity of the iris into the angle with a more peripherally placed mirror, while the angle may be visible with a more centrally placed mirror (Fig. 7).

Fig 7. Schematic drawing showing how the relation of the mirror to the apex of the cornea may determine whether the angle recess can be visualized in eyes with a marked convexity of the iris.

The Goldmann lenses have a radius of curvature of 7.4 mm, which is steeper than the normal cornea. The Zeiss four-mirror lens (and other similar lenses) has a somewhat flatter base with a 7.85-mm radius of curvature. Because of this the Zeiss lens is used with just the normal tear film as a liquid bridge between the lens and cornea, while the Goldmann-type lenses require the use of a more viscous bridge such as methylcellulose. The Zeiss lens has a much smaller diameter base (Fig. 8). Its internal diameter is 9 mm, or in other words less than the corneal diameter. The one- or two-mirror Goldmann lenses have a 12-mm internal diameter. The three-mirror Goldmann lenses have a diameter of 15 mm.

Fig 8. Front and back views of the Zeiss four-minor gonioscopy lens.

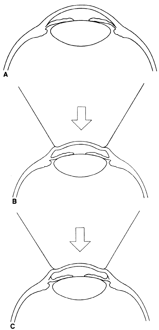
With the one-mirror Goldmann-type lens, and to a much greater extent with the Zeiss lens, it is possible to place pressure on the limbus or to indent the cornea and distort the anatomy of the anterior chamber (Fig. 9). In this manner it is possible to open artificially an angle that has appositional closure. Used properly, this ability to manipulate the peripheral iris and angle purposefully can be quite helpful in differentiating between appositional and synechial closure of the angle. (This technique of identation gonioscopy using the Zeiss four-mirror goniolens has been well described by Forbes.2)

Fig 9. Use of indentation gonioscopy to differentiate between appositional and synechial angle closure. (A) Eye with angle closure. (B) With indentation gonioscopy, aqueous is forced peripherally, opening the appositional closure. (C) The synechial closure is not affected by the indentation even though the peripheral iris is pushed posteriorly.

On the other hand, if one artificially distorts the angle and is unaware of it, a false impression of the anatomy can be obtained.

THERAPEUTIC

The initial therapeutic use of gonioscopy lenses was in conjunction with the performance of goniotomy operations. Although the basic technique had been described much earlier, Barkan popularized the use of this technique and obtained the excellent results that he did because he was able to see the angle structures accurately and incise them very superficially with his knife. This technique demanded a lens that left space over pan of the cornea for entry with the goniotomy knife yet provided a view of a significant portion of the angle so that at least 3 dock hours could be treated. Barkan solved this problem by designing a sort of truncated, partial Koeppe lens that included two small dimples on its surface, which could be used for stabilizing or manipulating the lens (Fig. 10). Worst designed a somewhat different lens that was actually sutured to the globe for stabilization but included a small aperture in the lens to allow for introduction of the goniotomy knife (Fig. 11).

Fig 10. A Barkan goniotomy lens (left) next to a Koeppe-type direct gonioscopy lens.

Fig 11. Goniotomy being performed with a Worst goniotomy lens. The lens is sutured to the globe for stability, and the needle-knife is passed through the opening in the lens.

LENSES USED IN LASER SURGERY

Recently, a number of laser techniques for the treatment of open-angle glaucoma have been devised that require clear visualization of the anterior chamber angle and/or the ciliary processes. The procedure that has received the greatest acceptance and that is used most widely is laser trabeculoplasty. Another technique, goniophotocoagulation, involves photocoagulation of neovascular vessels bridging the angle. Since these laser procedures utilize a slit-lamp delivery system, one of the various mirrored goniolenses must be used rather than a direct gonioscopy lens. However, a number of modifications have been made in the standard lenses to improve their usefulness in laser treatments. Special anti-reflective coatings have been bonded onto the surface of the lens to reduce the glare and scatter of the laser energy.3 Other lenses have had small high-plus buttons bonded onto their surface over the mirrors to increase magnification of the structures being seen. Some lenses have been constructed of different materials because the glass or acrylic lenses available for general use cannot tolerate the high energy impact of the short-duration pulsed lasers that are now being employed with increased frequency. At least one manufacturer of a neodymium: YAG laser provides two special mirrored gonioscopy lenses with a 7-mm and 8-mm radius of curvature. These lenses are made of special glass and are much heavier than the standard plastic lenses that are used for diagnostic purposes.

Back to Top
CYCLOSCOPY
In some eyes with extremely large pupils or with sector iridectomies, the gonioscopy lens can be used to examine the ciliary body (cycloscopy). A number of investigators have reported the use of photocoagulation of the ciliary processes with laser energy as a modality for the treatment of glaucoma. The results published to date have been somewhat mixed.4 Moreover, the application of this technique is rather limited because in phakic eyes it is not possible to see the ciliary processes with a regular gonioscopy lens. To remedy this limitation, a number of lenses have been designed that include small scleral indentors that are attached to a mirror gonioscopy lens. With these lenses, one can indent the sclera and push the ciliary processes into the line of view of the mirrored goniolens. At present, however, the application of this somewhat technically difficult procedure remains quite limited.
Back to Top
LENSES FOR LASER IRIDOTOMY
The introduction of the Abraham iridotomy has played a pivotal role in the success of laser iridotomy. It consists of a Goldmann fundus contact lens that has been coated with an antireflective compound and to which a small 66-D powered button has been bonded somewhat eccentrically on the surface (Fig. 11). This convex-piano button has a focal length of 13 mm and serves to focus the laser energy on the iris in a spot the diameter of which is one half what it would be without the lens (Fig. 12). Thus, the power density of the laser energy at the treatment spot (inversely proportional to the square of the diameter of the spot) is increased by a factor of four. Similar contact lenses on which the button is placed in the center are now also being marketed for use in laser capsulotomies and membranectomies.

Fig 12. An Abraham iridotomy lens.

Back to Top
REFERENCES

1. Dellaporta A: Historical notes on gonioscopy. Surv Ophthalmol 20: 137, 1975

2. Forbes M: Gonioscopy with corneal indentation. Arch Ophthalmol 76:488, 1966

3. Abraham RK: Protocol for single-session Argon laser iridectomy for angle-closure glaucoma. Int Ophthalmol Clin 21:145, 1981

4. Goldman E, Wilensky JT: Transpupillary laser cyclotherapy. In Wilensky JT (ed): Laser Therapy of Glaucoma, pp 123-130. New York, Appleton-Century-Crofts, 1984

Back to Top